
【文/羽扇观金工作室】
3月30日,安徽纪检监察网发布通报:安徽来安农村商业银行股份有限公司原党委书记、董事长郑如银涉嫌严重违纪违法,目前正接受安徽省纪委监委驻省农信社纪检监察组纪律审查;同时,经安徽省监委指定管辖,马鞍山市花山区监委也介入监察调查。

截图来自安徽纪检监察网
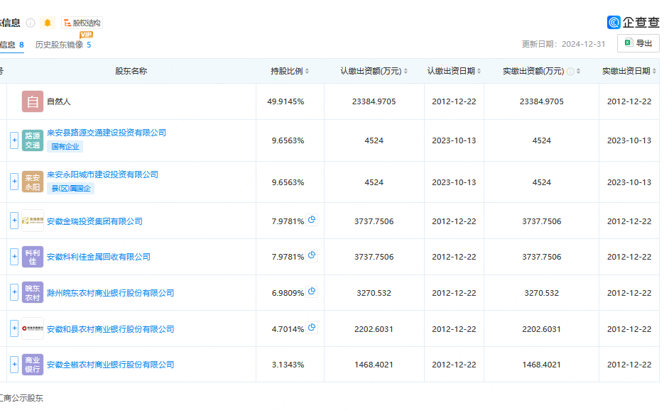
根据企查查最新股权信息,来安农商行呈现自然人绝对主导、地方国企参股、同业机构分散持股的典型县域农商行股权结构。该行注册资本 4.83 亿元,其中自然人股东合计持股 49.9145%,认缴出资额2.34亿元,是第一大持股主体;两家来安县属国企——来安县路源交通建设投资有限公司、来安永阳城市建设投资有限公司,分别以 9.6563% 的持股比例并列第二大股东,各认缴出资4524万元;安徽金瑞投资集团、安徽科利佳金属回收两家民营企业各持股 7.9781%;滁州皖东农商行、安徽和县农商行、安徽全椒农商行等同业机构合计持股约 15%,无单一绝对控股股东。

截图来自企查查
这种股权结构是安徽县域农商行的普遍缩影:民间资本占比超六成,地方国资仅为参股角色,省联社仅承担行业管理职能、不直接持股,导致 “内部人控制” 风险天然存在。郑如银作为来安农商行的主要筹建者、首任党委书记、董事长,自2012年12月该行由原来安县农村信用合作联社改制成立起,全面执掌党建与经营管理近十年,直至2021年卸任,是该行发展的核心掌舵人。
郑如银是来安农商行的主要筹建者,也是首任掌舵人。公开资料显示,2012年12月,来安农商行在原农村信用合作联社基础上改制成立,他出任首任党委书记、董事长,全面负责党建和经营管理,直到2021年卸任,前后执掌这家银行近十年。
在他任职期间,来安农商行的经营规模实现了增长。到2024年末,全行资产总额达到178.77亿元,全年营业收入3.93亿元,净利润8598.80万元。2025年末,存款突破173亿元,贷款规模达130亿元,当年缴纳税金5855.72万元。银行多次获评来安县“金融服务先进单位”,2023年还拿到了“县域农村商业银行高质量发展示范行”的称号。
但规模扩张的另一面,是资产质量在郑如银卸任前后暴露出的明显短板。2020年末,也就是他卸任的次年,来安农商行的不良贷款率高达3.95%,远远超出行业合理水平,成为拖累银行后续发展的一大隐患。
郑如银被查,在安徽农信系统并非孤例,更是近年来金融反腐持续深化的一个缩影。
2025年4月,铜陵农村商业银行股份有限公司原信贷管理部总经理胡四五涉嫌严重违纪违法,接受安徽省纪委监委驻省农信社纪检监察组纪律审查和宣城市旌德县监察委员会监察调查;
2024年10月,阜阳颍东农村商业银行股份有限公司原党委书记、董事长姚清因同类问题被查,2025年4月被开除党籍并移送司法机关;
2026年3月配资查询之家官网,安徽临泉农村商业银行股份有限公司党委书记、董事长孙新华也因涉嫌严重违纪违法,接受纪律审查和监察调查。
富牛平台提示:文章来自网络,不代表本站观点。